Citation: WANG Renliang, ZHU Yanmei, JI Haiwei. Synthesis of Ordered Supermicroporous Silica Using Short-Chain Quaternary Ammonium/Fatty Acid Salts as Template[J]. Chinese Journal of Applied Chemistry, ;2019, 36(1): 51-57. doi: 10.11944/j.issn.1000-0518.2019.01.180069 shu

Synthesis of Ordered Supermicroporous Silica Using Short-Chain Quaternary Ammonium/Fatty Acid Salts as Template

  • Corresponding author: ZHU Yanmei, renliangw@163.com
  • Received Date: 13 March 2018
    Revised Date: 4 April 2018
    Accepted Date: 7 June 2018

    Fund Project: Foundation for High-Level Project Development 2015GCC19Science and Technology Research Program for Colleges and Universities J17KB072the Foundation of Key Laboratory of Colloid and Interface Chemistry(Shandong University), Ministry of Education 201407Supported by the Foundation of Key Laboratory of Colloid and Interface Chemistry(Shandong University), Ministry of Education(No.201407), Foundation for High-Level Project Development(No.2015GCC19), Science and Technology Research Program for Colleges and Universities(No.J17KB072)

Figures(6)

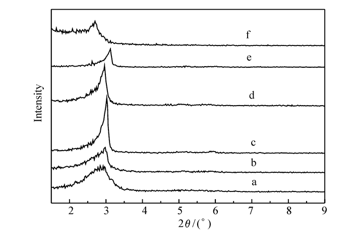
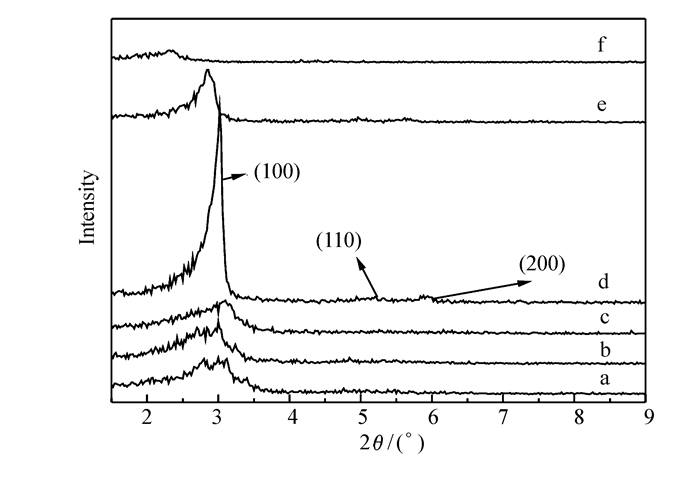
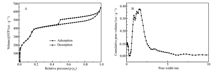
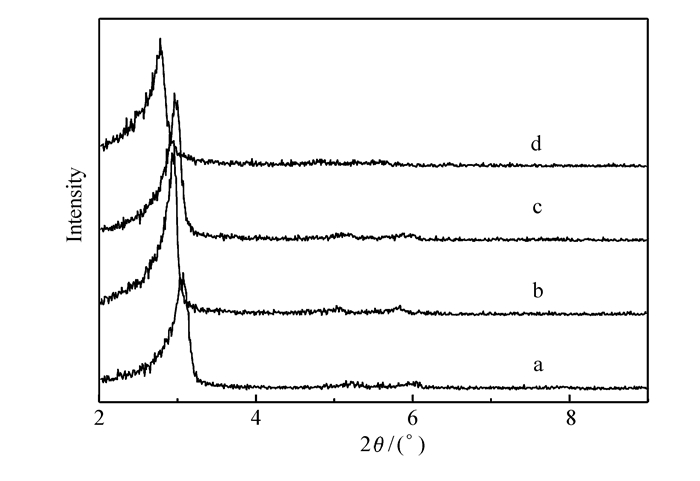
  • Supermicroporous materials possess pore size of 1~2 nm. They are expected to exhibit size-and shape-based separation/catalytic applications, which plays important role in modern industry. It is challenging to find an economic/simple surfactant system for the synthesis of supermicroporous materials. In this work, supermicroporous silica was synthesized using short-chain quaternary ammonium salt(decyltrimethyl ammonium bromide, denoted C10 TAB) surfactant system mixed with fatty acid salts as the templating agents. The samples were characterized by small-angle X-ray diffraction(XRD), N2 adsorption-desorption, Fourier transform infrared spectroscopy(FTIR), scanning electron microscopy(SEM) and transmission electron microscopy(TEM). The results indicate that the length of alkyl chain in co-surfactant, the dosage amount, crystallization temperature have great effects on the regularity of the pore structure. We can obtain highly ordered supermicroporous silica when using sodium octanoate(denoted SO) as co-surfactant in the molar ratio of n(C10TAB):n(Na2SiO3):n(SO):n(H2O)=1:1.5:0.3:800, at the crystallization temperature of 80℃. The calcinated materials possess surface area 1300 m2/g and pore volume 0.49 cm3/g with a pore size distribution centered at about 1.90 nm.
  • 加载中
    1. [1]

      Jiang J X, Yu J H, Corma A. Extra-Large-Pore Zeolites:Bridging the Gap Between Micro and Mesoporous Structures[J]. Angew Chem Int Ed, 2010,49(18):3120-3145. doi: 10.1002/anie.v49:18

    2. [2]

      Chal R, Gerardin C, Bulut M. Overview and Industrial Assessment of Synthesis Strategies Towards Zeolites with Mesopores[J]. ChemCatChem, 2011,3(1):67-81. doi: 10.1002/cctc.201000158

    3. [3]

      Beck J S, Vartuli J C, Roth W J. A New Family of Mesoporous Molecular Sieves Prepared with Liquid Crystal Templates[J]. J Am Chem Soc, 1992,114(27):10834-10843. doi: 10.1021/ja00053a020

    4. [4]

      Abdelhamid S. Catalysis by Crystalline Mesoporous Molecular Sieves[J]. Chem Mater, 1996,8(8):1840-1852. doi: 10.1021/cm950585+

    5. [5]

      Ying J Y, Mehnert C P, Wong M S. Synthesis and Applications of Supramolecular-Templated Mesoporous Materials[J]. Angew Chem Int Ed, 1999,30(12):56-77.  

    6. [6]

      Hu W B, Xie H L, Yue H B. Super-Microporous Silica-Supported Platinum Catalyst for Highly Regioselective Hydrosilylation[J]. Catal Commun, 2017,97:51-55. doi: 10.1016/j.catcom.2017.04.015

    7. [7]

      Fu W H, Liang X M, Zhang H D. Shape Selectivity Extending to Ordered Supermicroporous Aluminosilicates[J]. Chem Commun, 2015,51(8):1449-1452. doi: 10.1039/C4CC08784D

    8. [8]

      Watanabe H, Fujikata K, Oaki Y. Dynamic Adsorption of Toluene on Pore-Size Tuned Supermicroporous Silica[J]. Micropor Mesopor Mater, 2015,214:41-44. doi: 10.1016/j.micromeso.2015.04.034

    9. [9]

      Suzuki T, Watanabe H, Ueno T. Significant Increase in Band Gap and Emission Efficiency of In2O3 Quantum Dots by Size-Tuning Around 1 nm in Supermicroporous Silicas[J]. Langmuir, 2017,33(12):3014-3017. doi: 10.1021/acs.langmuir.6b04181

    10. [10]

      Di Y, Meng X J, Wang L F. Ultralow Temperature Synthesis of Ordered Hexagonal Smaller Supermicroporous Silica Using Semifluorinated Surfactants as Template[J]. Langmuir, 2006,22(7):3068-3072. doi: 10.1021/la0521342

    11. [11]

      Bagshaw S A, Hayman A R. Novel Super-Microporous Silicate Templating by ω-Hydroxyalkylammonium Halide Bolaform Surfactants[J]. Chem Commun, 2000,7(7):533-534.  

    12. [12]

      Bagshaw S A, Hayman A R. Super-Microporous Silicate Molecular Sieves[J]. Adv Mater, 2001,13(12/13):1011-1013.  

    13. [13]

      Ryoo R, Park I S, Jun S. Synthesis of Ordered and Disordered Silicas with Uniform Pores on the Border Between Micropore and Mesopore Regions Using Short Double-Chain Surfactants[J]. J Am Chem Soc, 2001,123(8):1650-1657. doi: 10.1021/ja0038326

    14. [14]

      Wang R L, Han S H, Hou W G. Highly Ordered Supermicroporous Silica[J]. J Phys Chem C, 2007,111(29):10955-10958. doi: 10.1021/jp0716029

    15. [15]

      Zhou Y, Antonietti M. Preparation of Highly Ordered Monolithic Super-microporous Lamellar Silica with a Room-Temperature Ionic Liquid as Template via the Nanocasting Technique[J]. Adv Mater, 2003,15(17):1452-1455. doi: 10.1002/(ISSN)1521-4095

    16. [16]

      Zhou Y, Antonietti M. A Series of Highly Ordered, Super-Microporous, Lamellar Silicas Prepared by Nanocasting with Ionic Liquids[J]. Chem Mater, 2004,16(3):544-550. doi: 10.1021/cm034442w

    17. [17]

      Wang P, Chen S X, Zhao Z D. Synthesis of Ordered Porous SiO2 with Pores on the Border Between the Micropore and Mesopore Regions Using Rosin-Based Quaternary Ammonium Salt[J]. RSC Adv, 2015,5(15):11223-11228. doi: 10.1039/C4RA12113A

    18. [18]

      LIU Chunyan, GONG Caiyun, ZHOU Dongxue. Modified Jeffamine Molecular Tools for Ordered Mesoporous and Super-micorporous Silica Microsphere Particles[J]. Chinese J Inorg Chem, 2015,31(5):954-960.  

    19. [19]

      Hao J C, Hoffmann H. Self-assembled Structures in Excess and Salt-Free Catanionic Surfactant Solutions[J]. Curr Opin Colloid Interface Sci, 2004,9(3/4):279-293.  

    20. [20]

      HAN Feng, FU Honglan, HE Xiao. Superior Stable Vesicle Formation in Mixed Cationic and Anionic Surfactant Systems[J]. Acta Chim Sin, 2003,61(9):1399-1404. doi: 10.3321/j.issn:0567-7351.2003.09.011

    21. [21]

      DONG Wenjing, ZHAO Jianxi. Self-Assembly of Cationic/Anionic Surfactants with Highly Dissymmetric Lengths of Alkyl Tails[J]. Acta Phys Chim Sin, 2015,31(8):1535-1540.  

    22. [22]

      MU Mingwei, PENG Ce, WANG Song. Synthesis and Characterization of Mesoporous Silica Vesicles Using Cationic-Anionic Binary Surfactant as Template[J]. Chem J Chinese Univ, 2013,34(6):1309-1312.  

    23. [23]

      WANG Wenxuan, DENG Shaoxin, SHI Chengxiang. Synthesis of Mesoporous Silica Using Anionic Surfactant/Cationic Polyamine as a Template[J]. Acta Phys Chim Sin, 2015,31(4):707-714.  

    24. [24]

      Ohkubo T, Ogura T, Sakai H. Synthesis of Highly-Ordered Mesoporous Silica Particles Using Mixed Cationic and Anionic Surfactants as Templates[J]. J Colloid Interface Sci, 2007,312(1):42-46. doi: 10.1016/j.jcis.2007.02.043

    25. [25]

      Anacker E W. Organic Counterions and Micellar Parameters. n-Alkyl Carboxylates[J]. J Phys Chem, 1981,85(17):2463-2466. doi: 10.1021/j150617a011

    26. [26]

      Lin Y S, Lin H P, Mou C P. A Simple Synthesis of Well-Ordered Super-Microporous Aluminosilicate[J]. Micropor Mesopor Mater, 2004,76(1/3):203-208.  

    27. [27]

      Galarneau A, Desplantier D, Dutartre R. Micelle-templated Silicates as a Test Bed for Methods of Mesopore Size Evaluation[J]. Micropor Mesopor Mater, 1999,27(2/3):297-308.  

    28. [28]

      Ravikovitch P I, Domhnaill S C, Neimark A V. Capillary Hysteresis in Nanopores:Theoretical and Experimental Studies of Nitrogen Adsorption on MCM-41[J]. Langmuir, 1995,11(12):4765-4772. doi: 10.1021/la00012a030

  • 加载中
    1. [1]

      Fanpeng Shang Jiantuo Chen . 多视角分析DMPE盘状双层胶束——第38届中国化学奥林匹克(初赛)第4题解析. University Chemistry, 2025, 40(8): 388-393. doi: 10.12461/PKU.DXHX202410034

    2. [2]

      Yukai Jiang Yihan Wang Yunkai Zhang Yunping Wei Ying Ma Na Du . Characterization and Phase Diagram of Surfactant Lyotropic Liquid Crystal. University Chemistry, 2024, 39(4): 114-118. doi: 10.3866/PKU.DXHX202309033

    3. [3]

      Congying Lu Fei Zhong Zhenyu Yuan Shuaibing Li Jiayao Li Jiewen Liu Xianyang Hu Liqun Sun Rui Li Meijuan Hu . Experimental Improvement of Surfactant Interface Chemistry: An Integrated Design for the Fusion of Experiment and Simulation. University Chemistry, 2024, 39(3): 283-293. doi: 10.3866/PKU.DXHX202308097

    4. [4]

      Huiying ZHANGPing LIWeixia DONGZhiwen HUQifu BAOQizheng DONGMingmin BAIWenqi LI . Photocatalytic performance of spheroidal nano Bi4Ti3O12 prepared by surfactant-assisted hydrothermal reaction. Chinese Journal of Inorganic Chemistry, 2026, 42(3): 551-561. doi: 10.11862/CJIC.20250269

    5. [5]

      Ruifeng CHENChao XUJianting JIANGTianshe YANG . Gold nanorod/zinc oxide/mesoporous silica nanoplatform: A triple-modal platform for synergistic anticancer therapy. Chinese Journal of Inorganic Chemistry, 2025, 41(11): 2272-2282. doi: 10.11862/CJIC.20250117

    6. [6]

      Zhiquan ZhangBaker RhimiZheyang LiuMin ZhouGuowei DengWei WeiLiang MaoHuaming LiZhifeng Jiang . Insights into the Development of Copper-Based Photocatalysts for CO2 Conversion. Acta Physico-Chimica Sinica, 2024, 40(12): 2406029-0. doi: 10.3866/PKU.WHXB202406029

    7. [7]

      Hailang JIAPengcheng JIHongcheng LI . Preparation and performance of nickel doped ruthenium dioxide electrocatalyst for oxygen evolution. Chinese Journal of Inorganic Chemistry, 2025, 41(8): 1632-1640. doi: 10.11862/CJIC.20240398

    8. [8]

      Jiayi Yang Jianxiu Hao Huacong Zhou Quansheng Liu . “Gorgeous Transformation” of Carbon Dioxide into Cyclic Carbonates: Catalyst Types and Roles. University Chemistry, 2026, 41(2): 178-189. doi: 10.12461/PKU.DXHX202502105

    9. [9]

      Jianan HongChenyu XuYan LiuChangqi LiMenglin WangYanwei Zhang . Decoding the interfacial competition between hydrogen evolution and CO2 reduction via edge-active-site modulation in photothermal catalysis. Acta Physico-Chimica Sinica, 2025, 41(9): 100099-0. doi: 10.1016/j.actphy.2025.100099

    10. [10]

      Bing WEIJianfan ZHANGZhe CHEN . Research progress in fine tuning of bimetallic nanocatalysts for electrocatalytic carbon dioxide reduction. Chinese Journal of Inorganic Chemistry, 2025, 41(3): 425-439. doi: 10.11862/CJIC.20240201

    11. [11]

      Xiaolong Li Shiqi Zhong Xiangfeng Wei Zhiqiang Liu Pan Zhan Jiehua Liu . Carbon Dioxide: From the Past to the Future. University Chemistry, 2026, 41(2): 242-247. doi: 10.12461/PKU.DXHX202503013

    12. [12]

      Yucai Zhang Jun Jiang . Electrochemical Carbon Dioxide Reduction to Ethylene. University Chemistry, 2026, 41(2): 190-196. doi: 10.12461/PKU.DXHX202503006

    13. [13]

      Pengli GUANRenhu BAIXiuling SUNBin LIU . Trianiline-derived aggregation-induced emission luminogen probe for lipase detection and cell imaging. Chinese Journal of Inorganic Chemistry, 2025, 41(9): 1817-1826. doi: 10.11862/CJIC.20250058

    14. [14]

      Xiaoning TANGShu XIAJie LEIXingfu YANGQiuyang LUOJunnan LIUAn XUE . Fluorine-doped MnO2 with oxygen vacancy for stabilizing Zn-ion batteries. Chinese Journal of Inorganic Chemistry, 2024, 40(9): 1671-1678. doi: 10.11862/CJIC.20240149

    15. [15]

      Qiang ZhangYuanbiao HuangRong Cao . Imidazolium-Based Materials for CO2 Electroreduction. Acta Physico-Chimica Sinica, 2024, 40(4): 2306040-0. doi: 10.3866/PKU.WHXB202306040

    16. [16]

      Yanhui GuoLi WeiZhonglin WenChaorong QiHuanfeng Jiang . Recent Progress on Conversion of Carbon Dioxide into Carbamates. Acta Physico-Chimica Sinica, 2024, 40(4): 2307004-0. doi: 10.3866/PKU.WHXB202307004

    17. [17]

      Hailian Cheng Shuaiqiang Jia Chunjun Chen Haihong Wu Buxing Han . Electrocatalytic CO2 Conversion: A Key to Unlocking a Low-Carbon Future. University Chemistry, 2026, 41(2): 1-13. doi: 10.12461/PKU.DXHX202502023

    18. [18]

      Tianhao GESirong LUZhiyin XIAOWei ZHONG . Synthesis of porphyrin-based ionic polymeric materials for catalytic application in CO2 conversion. Chinese Journal of Inorganic Chemistry, 2026, 42(4): 722-736. doi: 10.11862/CJIC.20250312

    19. [19]

      Caixia Lin Zhaojiang Shi Yi Yu Jianfeng Yan Keyin Ye Yaofeng Yuan . Ideological and Political Design for the Electrochemical Synthesis of Benzoxathiazine Dioxide Experiment. University Chemistry, 2024, 39(2): 61-66. doi: 10.3866/PKU.DXHX202309005

    20. [20]

      Bizhu ShaoHuijun DongYunnan GongJianhua MeiFengshi CaiJinbiao LiuDichang ZhongTongbu Lu . Metal-Organic Framework-Derived Nickel Nanoparticles for Efficient CO2 Electroreduction in Wide Potential Windows. Acta Physico-Chimica Sinica, 2024, 40(4): 2305026-0. doi: 10.3866/PKU.WHXB202305026

Metrics
  • PDF Downloads(2)
  • Abstract views(1258)
  • HTML views(240)

通讯作者: 陈斌, bchen63@163.com
  • 1. 

    沈阳化工大学材料科学与工程学院 沈阳 110142

  1. 本站搜索
  2. 百度学术搜索
  3. 万方数据库搜索
  4. CNKI搜索
Address:Zhongguancun North First Street 2,100190 Beijing, PR China Tel: +86-010-82449177-888
Powered By info@rhhz.net

/

DownLoad:  Full-Size Img  PowerPoint
Return